
Apple kompaniyasi sun’iy yo‘ldosh orqali aloqa imkoniyatini yaxshilaydigan yangi g‘ilof ustida ish olib bormoqda. Bu haqda GSMArena texnonashri ma’lum qildi.
Unga ko‘ra, mazkur g‘ilof iPhone va iPad’lar uchun mo‘ljallangan bo‘lib, ichki antennalari yordamida sun’iy yo‘ldosh signallariga ulanib, signal sifatini kuchaytirishi kutilmoqda.

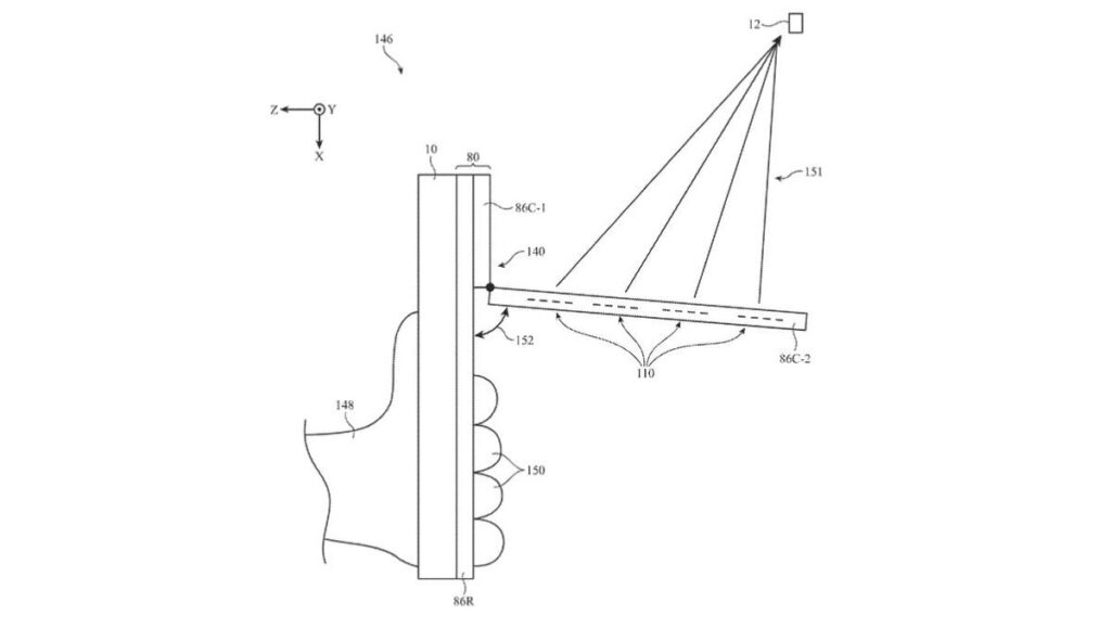
G‘ilofning bir qismi ochilib, ichki fazali antenna massivini osmonga yo‘naltiradi. Bu foydalanuvchi telefonni ushlasa ham signal to‘silmasligini ta’minlaydi, chunki antennalarni o‘z ichiga olgan qismga tegilmaydi. Shu tarzda foydalanuvchi g‘ilofni oddiy himoya vositasi sifatida ishlatishi va kerak bo‘lsa olib tashlashi mumkin.
Bunday antenna massivi yordamida g‘ilof bir nechta sun’iy yo‘ldoshlar bilan ulanib ishlashi mumkin. Patent hujjatlarida Apple g‘ilof orqali radiochastota ulanishi yordamida simsiz ma’lumotlarni uzatish yoki NFC kabi boshqa imkoniyatlar mavjudligini ham ko‘rsatgan.
Eslatib o‘tamiz, avvalroq YouTube Apple Vision Pro uchun maxsus ilovani ishga tushirgan edi.